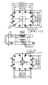
●四维力∶Fx,Fy,Fz,Mz;
● 用于静态和动态负载;
● 高精度,多功能;
● 集成机械去耦;
●定制工程测量平台;
● 应用领域:汽车压装、自动化组装、3C产品测试、新能源产品组装、医疗检测、机器人领域、模具组装及其他工业测试、测量及控制系统

| 额定量程 | Fx=Fy=600kN,Fz=1000kN Mz=100kN.m | 绝缘电阻 | ≥2000MΩ/50VDC |
| 输出灵敏度 | Fx=Fy=2.0mV/V Fz=0.5mV/VMz=1.0mV/V | 激励电压 | 5V |
互扰误差 | 5%F.S. | 最大激励电压 | 15V |
| 非线性 | 0.5%F.S. | 温度补偿范围 | -10-60℃ |
| 滞后误差 | 0.5%F.S. | 工作温度范围 | -35-80℃ |
| 重复性 | 0.5%F.S. | 安全超载 | 150%F.S. |
| 蠕变(30分钟) | 0.5%F.S. | 极限超载 | 200%FS. |
| 温度对灵敏度漂移 | 0.1%F.S./10℃ | 电缆线尺寸 | 4×φ6-4m高柔线 |
零点温度漂移 | 0.1%F.S./10℃ | 保护等级 | IP65 |
受力方向 | 接线方式 |
![]() | ![]() |